72小时“闪电复位”:罗马仕原法定代表人卸任三天后重掌职位

发布日期:2025-07-07 06:42    点击次数:97

  国民充电宝品牌罗马仕正面临创立以来最严峻的危机。

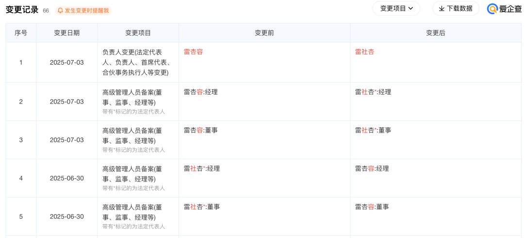
  爱企查最新数据显示,7月3日该公司发生重大工商变更:雷杏容卸任法定代表人、董事及经理职务,由雷社杏重新接任。值得注意的是,这已是72小时内公司法定代表人的第二次更迭——6月30日的变更记录显示,上述职务刚从雷社杏转移至雷杏容。

  公开信息显示,罗马仕的股权结构极为简单,仅由两位自然人股东雷桂斌和雷灿伙各持50%股份,认缴出资额均为300万元,从工商变更信息来看,雷桂斌曾经担任罗马仕执行董事、经理等职位,另外在公开报道中,雷桂斌也曾以罗马仕创始人的身份出现。值得玩味的是,近三个月内相继亮相的高管雷社杏、雷杏容与原有股东同属“雷”姓。这种特殊的人事架构引发外界对管理层亲属关系的猜测,但截至发稿,公司尚未就此作出回应。

  “在民营企业中,特别是家族企业,高管集中出现同姓情况并不罕见。但如此密集的高层变动,加上多位同姓管理者交替登场,确实容易引发外界对公司治理结构的关注。”上海市海华永泰律师事务所合伙人陈元熹向记者分析指出,罗马仕作为由两位雷姓自然人股东各持50%股份的有限责任公司,其决策机制相比股权分散的上市公司更为直接,但也意味着如此重大人事调整更容易在短期内快速完成。

  成立于2012年的罗马仕,深耕充电领域多年,业务覆盖移动电源、户外电源、数据充电线、电源适配器等全品类产品的研发、制造与销售。凭借高性价比的产品定位,罗马仕从2013年至2024年,连续11年稳坐天猫双11移动电源品类销量冠军宝座,一度成为消费者心中的“国民充电宝”代名词。然而,如今让这家企业陷入舆论漩涡、引发行业震动的,恰恰是曾助其登顶的明星产品——充电宝。

  6月16日,罗马仕发布消息称,将召回2023年6月5日-2024年7月31日期间制造的部分罗马仕ROMOSS牌移动电源,涉及三个型号,共计49.1745万台。这一大规模召回事件直接冲击了公司多年积累的品牌信誉。

  更严峻的危机接踵而至。据界面新闻7月3日报道,多名内部员工透露,公司自7月1日起已陆续通知员工全面停工停产。消息一出,“罗马仕倒闭”的猜测迅速蔓延。当日晚间,公司紧急发布声明称“并未倒闭”,并表示将“全力解决所有用户及合作伙伴的问题”。

  7月2日,《国际金融报》记者曾实地探访位于深圳国际创新谷三期7栋B座的罗马仕深圳总部,该写字楼物业安保措施严谨,人员出入需通过员工人脸识别或访客预约码验证。进入办公区域后记者发现,公司整体表现并无异常,但氛围显得极为安静,与一般科技公司常见的繁忙景象有所不同,偶尔有工作人员抱着文件快步穿行于走廊。该公司办公区玻璃门上“专注充电”的绿色标语依然醒目,这一slogan似乎仍彰显着罗马仕在充电领域的专业定位。

  7月2日下午,罗马仕的一位内部研发人员曾记者表示,“充电宝业务仍在推进,但(公司)眼下确实比较艰难,正身处‘生存关键时期’。”